Sari la conținut

BILA TIRANT CU GULER CAT.1/1 22X44 LA944211GP

https://agrotrac.odoo.com/web/image/product.template/153320/image_1920?unique=7a08e8d
(0 recenzie)

77,27 lei 77.27 RON 77,27 lei Taxe incluse

Not Available For Sale

Această combinație nu există.

Termeni și condiții
Garanție de rambursare în 30 de zile
Expediere: 2-3 zile lucrătoare

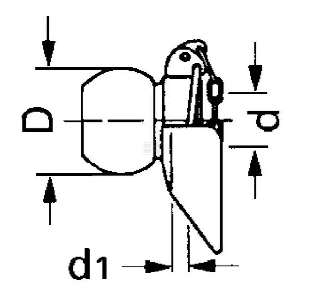
DDiametru exterior bilă
44 mm
dDiametru interior bilă
22 mm
d1Diametru bolț
12 mm